
Albero motore da competizione per il cambio originale adatto al vostro ciclomotore / ciclomotore Piaggio Ciao, Si, Bravo, Boxer, Grillo.
Questo albero motore finemente bilanciato si adatta a tutti i cilindri con spinotti da 12 mm e convince per la sua lavorazione di alta qualità.
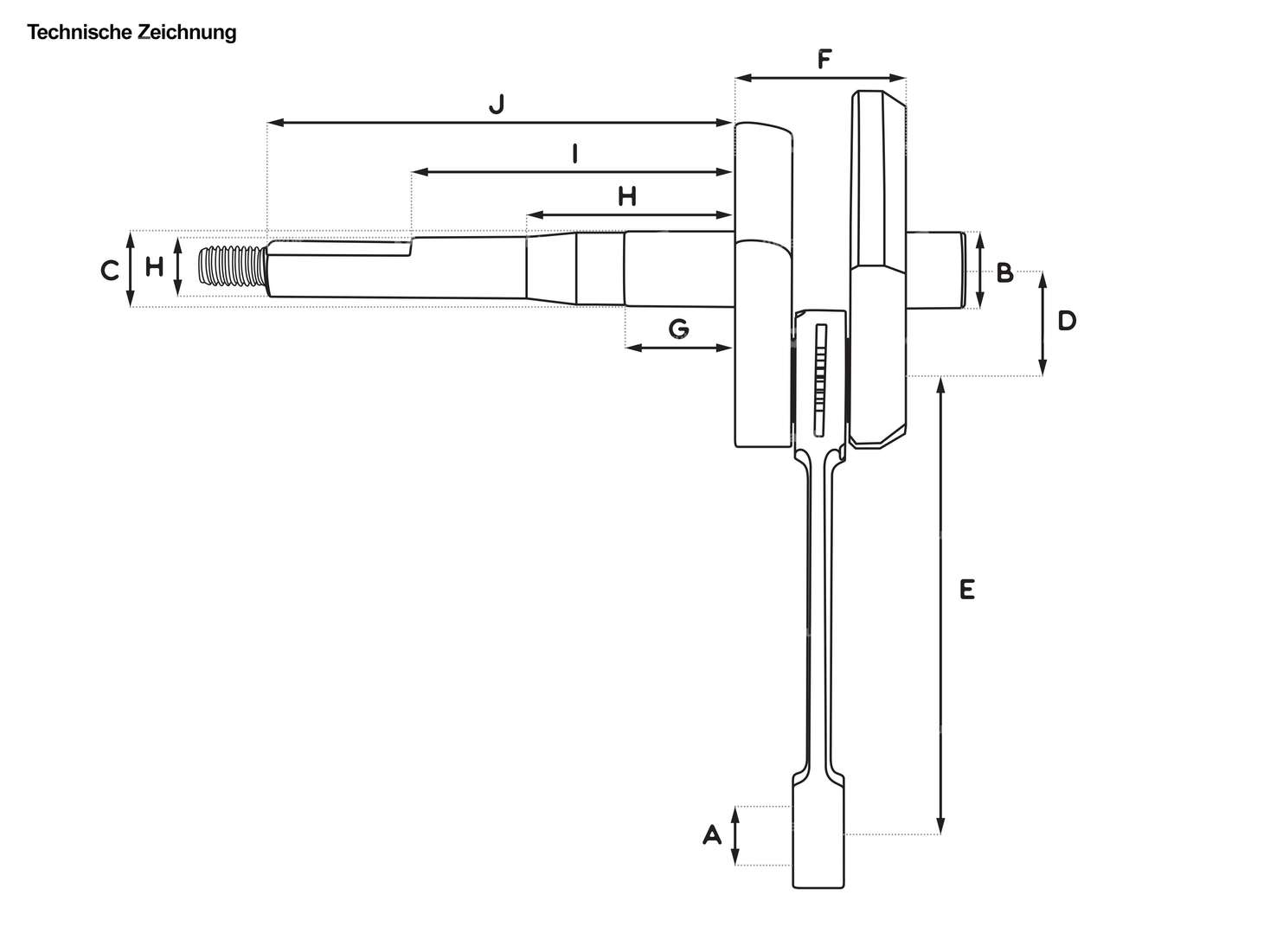
Occhio di biella (A): 15,0 mm
Ø Sede cuscinetto destro (B): 15,0 mm
Ø Sede cuscinetto centrale (C): 15,0 mm
Corsa (2xD): 43,0 mm
Lunghezza del guscio (E): 87,0 mm
Larghezza delle pedivelle (F): 32,5 mm
1a spalla (G): 21,7 mm
2a spalla (H): 44,0 mm
3a spalla (I): 63.4 mm
Lunghezza totale estremità perno di manovella (J): 91,5 mm
Ø Vario / perno frizione (H): 12,0 mm
Dimensione cuscinetto ad aghi: Ø 12 / 15 x 14,7 mm (asse 12)
Filettatura: M10 x 1,25 mm
Nota: Per l'installazione, è necessario inserire uno spessore di 16 x 0,5 mm tra l'albero a gomiti standard e i suoi cuscinetti principali.
Per poter installare l'albero di sintonia RHQ nell'alloggiamento del motore originale, questo deve essere leggermente lavorato. Inoltre, la frizione anteriore vario o mono deve essere adattata.
Per poter installare l'albero di sintonia RHQ nel carter del motore originale, questo deve essere leggermente lavorato.
Oltre a un nuovo cuneo a mezzaluna, al cuscinetto di biella e al dado esagonale piatto, la fornitura comprende anche le istruzioni per eseguire le modifiche.
I dischi distanziali corrispondenti e altre parti aggiuntive sono disponibili nella sezione accessori.
Prodotto di qualità del produttore italiano Malossi.
| Produttore | Malossi |
| Materiale | Acciaio |
| Area di applicazione | Sintonizzazione |
| Tipo di guancia | standard |
| Corsa dell'albero a gomiti | 43 mm |
| Ø raccordo / raccordo vario | 12 mm |
| Lunghezza della biella centro-centro | 87 mm |
| Lunghezza totale lato accensione perno manovella | 91.5 mm |
| Ø nastri a manovella | 70 mm |
| Ø spinotto del pistone (B) | 12 mm |
| Ø Occhio di biella | 15 mm |
| Sede del cuscinetto a destra | 15 mm |
| Ø Sede del cuscinetto (lato accensione) | 15 mm |
| Dimensione cuscinetto a rullini | 12 / 15 x 14.7 (axe 12) |
| Tipo di filettatura | MF10x1,25 (filettatura a passo fine) |
| Reti a manovella larghe | 32.5 mm |
| Lunghezza della filettatura | 14 mm |
| Lunghezza 1° paragrafo | 21.7 mm |
| Lunghezza 2° paragrafo | 44 mm |
| Lunghezza 3° paragrafo | 63.4 mm |
| Ø 1° passo (lato accoppiamento) | 15 mm |
| Ø 2° spalla (lato accoppiamento) | 14.4 mm |
| Ø 3° passo (lato accoppiamento) | 12 mm |
| Peso | 724 g |
| Numero di marce | 1 Stk |
| Piaggio | Ciao - P , SC , PX , C24 Si Bravo / Super Bravo Boxer Grillo Gilera CBA Gilera Citta |
Accessori & Affini
cuscinetto a rullini swiing® ingenious 12/15/16.2 "Racing" gabbia argento
Tipo di cuscinetto: Gruppo rullini e gabbia · Produttore: swiing® parti ingegnose · Gabbia del cuscinetto: Gabbia d'argento · Ø interno: 12 mm · Ø esterno: 15 mm · Larghezza: 16.2 mm · Dimensione cuscinetto a rullini: 12/15 x 16.2 · Numero OEM Tomos: 035548
EUR 16.60
swiing® estrattore geniale volano | Piaggio Ciao, SI, Bravo, Boxer
Larghezza attraverso il grilletto dei piatti: 10 mm · Larghezza attraverso il grilletto dei piatti: 17 mm · Produttore: swiing® parti ingegnose · Materiale: Acciaio · Superficie: annerito · Superficie: zincato (blu) · Diametro: 12 mm · Diametro: 24 mm · Area di applicazione: Strumento di (dis)montaggio · Larghezza tra i piani Vite: 19 mm · Numero di componenti: 3 Stk · Lunghezza totale: 100 mm · Tipo di filettatura: MF12x1,5 (filettatura a passo fine) · Tipo di filettatura: MF17x1 (filettatura a passo fine)
EUR 21.40
EUR 19.00
Albero motore Mazzucchelli "originale" 12 mm KoBo | Piaggio Ciao, SI, Bravo, Boxer
Dimensione cuscinetto a rullini: 12 / 15 x 14.7 mm (axe 12) · Produttore: Mazzucchelli · Materiale: Acciaio · Tipo di guancia: standard · Area di applicazione: Originale · Area di applicazione: Standard · Tipo di filettatura: M8x1,25 (filettatura standard) · Ø raccordo / raccordo vario: 12 mm · Corsa dell'albero a gomiti: 43 mm · Lunghezza della biella centro-centro: 87 mm · Lunghezza totale lato accensione perno manovella: 90 mm · Lunghezza totale lato accensione perno manovella: 106 mm · Ø nastri a manovella: 69.7 mm · Ø Occhio di biella: 15 mm · Lunghezza della filettatura: 16 mm · Sede del cuscinetto a destra: 15 mm · Ø spinotto del pistone (B): 12 mm · Ø Sede del cuscinetto (lato accensione): 15 mm · Reti a manovella larghe: 33 mm · Lunghezza 1° paragrafo: 21 mm · Lunghezza 2° paragrafo: 44 mm · Lunghezza 3° paragrafo: 63.5 mm · Ø 1° passo (lato accoppiamento): 15 mm · Ø 2° spalla (lato accoppiamento): 14.4 mm · Ø 3° passo (lato accoppiamento): 12 mm · Tempo di controllo in ingresso: 130 ° · Tempo di controllo prima dell'O.T.: 77 ° · Tempo di controllo secondo O.T.: 53 ° · Peso: 698 g · Numero di marce: 1 Stk
EUR 173.30
Gli appassionati di ciclomotori hanno anche acquistato
DR 43 mm kit cilindro 12 mm KoBo | Piaggio Ciao, SI, Bravo, Boxer
Produttore: DR Racing Parts · Materiale: Ghisa grigia · Mimetizzato: No · Superficie: verniciato · Area di applicazione: Sintonizzazione · Spostamento: 65 ccm · Corsa dell'albero a gomiti: 43 mm · Ø collo del cilindro: 46 mm · Ø Uscita esterna: 22.3 mm · Diametro nominale: 43 mm · Ø uscita interna: 18 mm · Numero di punti di fissaggio: 3 Stk · Schema di foratura [mm]: 55 x 34 · Ø spinotto del pistone (B): 12 mm · Tipo di uscita: bloccato · Decompressore: Sì
EUR 171.00
Carburatore manuale Dell'Orto 13/13 SHA | Piaggio Ciao PX / C24, Bravo, SUPERbravo
Produttore: Dell'Orto · Colore: nero · Gruppo di componenti carburatore: Carburatore completo · Materiale: Alluminio · Tipo di montaggio: Connessione a spina bloccata · Tipo di carburatore: SHA (Piaggio) · Area di applicazione: Sintonizzazione · Controllo dello starter: Strozzatura a mano · Diametro nominale: 13 mm · Ø senza manicotto di riduzione: 18 mm · Ø Ingresso interno: 13 mm · Ø Collegamento interno: 16 mm · Ø Uscita interna: 13 mm · Ø Collegamento del filtro dell'aria: 50.8 mm · Altezza: 96 mm · Ø attacco tubo benzina: 5.2 mm · Ø attacco tubo benzina: 6 mm · Collegamento olio misto: No · Larghezza: 60 mm · Collegamento al vuoto: No · Lunghezza totale: 46 mm · Filettatura dell'ugello: M5x0,8 (filettatura standard) · Mimetizzato: No · Dimensione dell'ugello: 66
EUR 71.70
Filtro aria Polini | Piaggio Ciao, SI, Bravo, Boxer
Produttore: Polini · Colore: nero · Materiale: Plastica · Tipo di montaggio: Connessione a spina bloccata · Area di applicazione: Sintonizzazione · Tipo di filtro: Schiuma · Ø Collegamento interno: 50.6 mm · Altezza: 94.7 mm · Ø esterno: 53 mm · Larghezza: 98 mm · Lunghezza totale: 29 mm · Mimetizzato: No
EUR 17.80
Polini Speed Engine carter motore accensione elettronica | Piaggio Ciao, SI, Bravo, Boxer
Altezza: 104 mm · Larghezza: 175 mm · Lunghezza totale: 215 mm · Numero di stock: 6202 · Produttore: Polini · Materiale: Alluminio · Colore: argento · Superficie: sabbiato · Corsa dell'albero a gomiti: 43 mm · Tipo di accensione: Elettronica
EUR 251.10








